26" Custom Pitless Unit - NSF 61 Certified
The Monitor 26" Custom Pitless Unit is a safe and sanitary method of completing a Municipal / Industrial water well. The Monitor Custom Pitless Unit attaches to the well casing and provides a sanitary underground discharge to the water treatment facility. The spool and discharge body are constructed of high strength cold-rolled steel. Using lead-free zinc, the spool and discharge body are galvanized for long term corrosion protection. Upon request, the Monitor Custom Fabricated Pitless Units can be fabricated from stainless steel.
Every Monitor Industrial Pitless Unit Shipped With Everything Needed For Quick Installation
Monitor NSF 61 Certified Custom Pitless Units are shipped as complete factory pressure tested pitless unit include
- The Watertight Premium Well Cap
- Upper Bury Depth Casing Extension
- Discharge Body
- Spool
- Discharge and Drop Connection
- Lift-Out Bail
- Hold-Down Assembly
Available Custom Pitless Unit Options
Monitor custom pitless units can be outfitted with epoxy coating, API drop pipe and discharge threads, cap cable seals, flowing well spools, locking seal caps, flanged upper casing, water sampler valves, wire seals, dual zone pitless with recharge lines, probe tubes, and additional conduit entrance connections for signal wires.
- Installation Instructions
- Shipping Weights
- Spools And Cable Seals
- Sealed Conduit
- O-Ring Selection Guide
For CAD drawing contact sales at 800-356-5130 or e-mail monitorsales@baker-mfg.com.
- Features
- Specifications
- Parts Breakdown
- Ordering Instructions
* For All Sizes
CORROSION PROTECTION – all water passages are either hot-dipped lead free galvanized or constructed of corrosion resistant material
O-RING SEAL PROTECTION – Monitor seal protection prevents seal damage during installation and service.
FROST PROOF – No Heating is required. All water passages are below the frost line.
QUICK TO INSTALL – A quality pump installation can be made easily and economically without delay for masonry or building construction
EASY TO SERVICE – Well cap can be removed without disconnecting cables. O-ring seals on spool permit withdrawal of the entire inner assembly simply by lifting. Replacement is equally simple. Spool support eliminates vertical adjustment and any possibility of dropping the inner assembly into the wall.
RELIABLE SEALS – Neoprene O-Rings between accurately machined hot-dipped lead free galvanized surfaces on the spool and within the unit provide positive seals.
WATERTIGHT WELL CAP WITH SCREENED AIR VENT and LOCKING BOLTS – Designed to permit removal without disconnecting cables. Separate junction box is eliminated. Watertight cable and conduit sealing is optional
HOLD-DOWN – Supplied with each unit. Hold-down pipe also serves as lift-out pipe for installation and servicing.
SUPPORT RINGS – Prevent distortion of the Discharge Body due to vertical movement of Discharge Pipe
LOCKING BOLTS
LIFT-OUT BAIL
DEPTH TEST BLOCKS
PROTECTED SCREENED VENT
PROBE TUBE
FLOWING WELL UNITS (available for most well sizes)
WATER SAMPLING VALVE-FROST PROOF (optional)
All units are available in Stainless Steel upon request.
Conduit Tapping: 2 in. and 1 in. Std. Also available in single 2 in., 3 in., or 4 in. NPT. All Tapping sizes available with or without electrical cable seal.

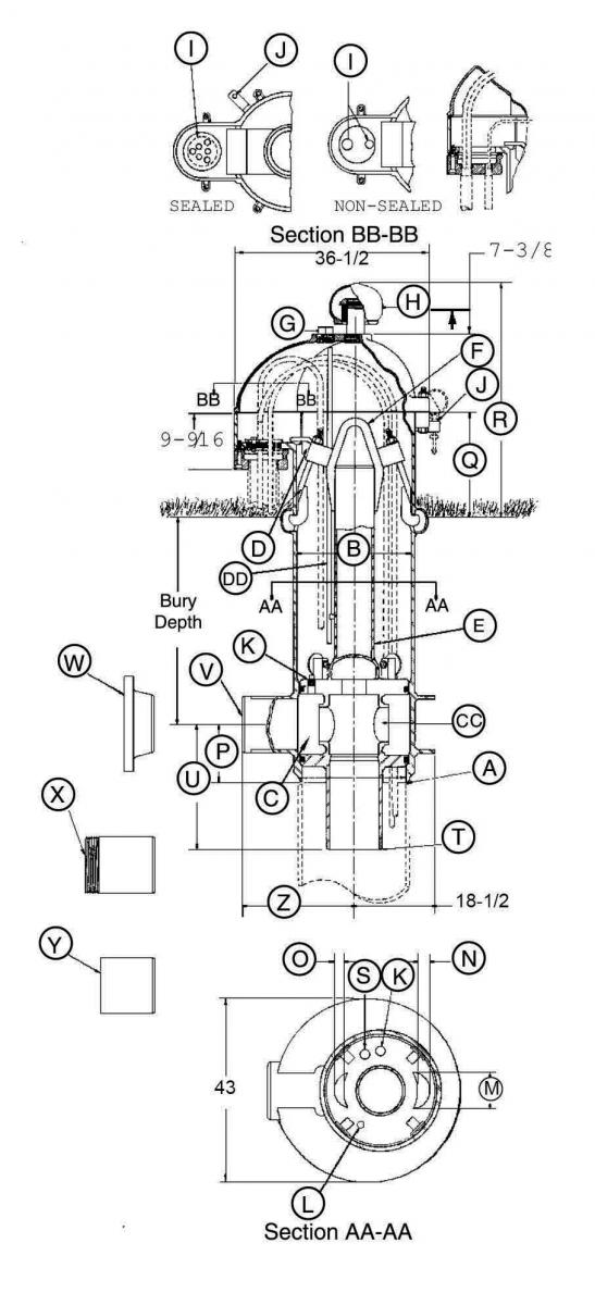
A
Pitless Unit to well casting connection: Chambered for butt weld.
B
Pitless Unit with Black Upper Case: 27 in. I.D., 28 in. O.D.
C
Discharge Body minimum I.D. 25
D
Hold-Down Mechanism: Locks spool in place and prevents lifting and turning during pump start-up. Two adjustable hooks on lift-out pipe hook into side of pitless case.
DD
Probe Tube Standard 1 in. PVC pipe.
E
Lift-Out Pipe: 8 in. IPS with standard lift-out ball.
F
Lift-Out Bail: Lift-out pipe and bail assembly designed for a 218,000 lb. load.
G
2-1/2 in. NPT Tapping.
H
Well Vent: Screws into a 2-1/2 in. NPT Tapping.
CAP CABLE SEALS (Section BB-BB)
I
J
Depth Tester Block Tappings: 1/4 in. NPT Std.
K
1 in. NPT Tapping ported to Drop Pipe.
L
Pressure Zone Tapping: 3/8" NPT Std
MOTOR CABLE PASSAGES THROUGH SPOOL (SECTION AA-AA)
M
7-3/16"
N
3-3/8"
O
2"
P
Dimension from center of Discharge outlet to bottom of discharge body: 17-7/16"
Q
Distance from ground level to top of the pitless case: 12"
R
Distance from ground level to top of the vent cap: 30-13/16"
(vent height may be increased if necessary)
S
3/4" NPT Tapping: used for optional water sampler
T
SPOOL TO DROP PIPE THREAD SIZES:
8" NPT
10" NPT
12" NPT
U
Dimension from center of discharge outlet
to bottom of spool:18-13/16"
20-15/16"
22-15/16"
DISCHARGE CONNECTIONS AND SIZES:
V
For Butt Weld (IPS):
8" I.D.
10" I.D.
12" I.D.
W
For Flanged (A.S.A. Std. 150 lb)
8" I.D.
10" I.D.
12" I.D.
X
For Threaded (NPT)
8" I.D.
10" I.D.
12" I.D.
Y
For Transition Sleeve (IPS)
8" I.D.
10" I.D.
12" I.D.
Z
Dimension from center of Well Casing to the end of the discharge outlet.
With (V) Butt Weld Discharge:
34-1/4"
34-1/4"
26-1/4"
With (W) Flanged Discharge:
38-5/16"
38-5/16"
30-3/4"
With (X) Threaded Discharge
38-5/16"
39-5/16"
33-5/16"
With (Y) Transition Sleeve:
46-1/4"
46-1/4"
38-1/4"
CC
SPOOL ASSEMBLY - WITHOUT CHECK VALVES
Area of water passage (s)
120.26 sq in.
120.26 sq. in.
120.26 sq. in.
Percent area of water passages to area drop pipe
240%
152%
106%
Specifications are Subject to Change Without Notice. Note: Pitless units conform to the Recommended Standards for Water works, Great Lakes Upper Mississippi River Board of State Public Health & Environmental Managers and Water Systems Council PAS-97 (04) Standards. COMPONENT MATERIALS Note:- Any combination between Drop Pipe and Discharge Outles size is possible, if required
Well Vent - cast iron, green enamel finish.
Cap - cast iron, green enamel finish.
Conduit Box - steel, corrosion resistant coating
Electrical Cable Seal - cast iron, green enamel finish
Combination Hold-Down & Lift Out Mechanism - lead-free galvanized.
Hold-down pipe - steel, corrosion resistant coating
Discharge Body -steel, lead-free galvanized.
Pitless Case - steel, corrosion resistant coating
Spool - steel, lead-free galvanized.
Probe tube - 1" PVC
Note: - Maximum rated discharge pressure is 300 PSI
|
UNITS AVAILABLE BY QUOTATION ONLY |
|||||||||||||||||||||||||||||||||||||||||||||||||||||||||||||||
| Typical Order Number 3PS2628WBWE012F12S |
||||||||||||||||||||||||||||||||||||||||||||||||||||||||||||||||
|
||||||||||||||||||||||||||||||||||||||||||||||||||||||||||||||||



