Sealed Conduit
Sealed Conduit
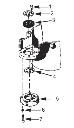
Key No.
|
Ordering Number
|
Description
|
Quantity
|
1
|
PS171
|
Hex head cap screw, 3/8-16NC x 1 1/2" L.
|
3
|
2
|
------
|
Upper Compression Plate
|
1
|
3
|
------
|
Cable seal gasket
|
1
|
4
|
------
|
Lower compression plate
|
1
|
5
|
------
|
Conduit seal adapter
|
1
|
6
|
UK355
|
Gasket
|
4
|
7
|
------
|
Hex socket cap screw
|
4
|